
TIPA6W9MQL Temperature Controller High Centrifugal Pump
Model: TIPA6W9MQL
An innovative upgrade from traditional chemical pumps, the TIPA6W9MQL series features a hollow sandwich structure for precise temperature control. It is designed for transporting media that require constant temperature maintenance at their crystallization or freezing point.
Product Description
The insulated pump body and cover form a thermal jacket that can be filled with steam, hot water, or heat-transfer oil. It is suitable for high-viscosity media, toxic substances, and flammable liquids. The back-supported design allows for maintenance without disturbing the piping.
Thermal Jacket
Hollow sandwich structure compatible with various insulating media.
Precision Bearings
Thin oil lubrication with constant-level oil cup control.
Application Fields
- ● High-temperature crude oil & heavy oil
- ● Molten sulfur & liquid phenolic resin
- ● Heat-sensitive APIs & sterile syrups
- ● Asphalt insulation & sugar molasses
- ● High-temperature pulp & coating liquids
Working Conditions
| Flow Rate | 2 - 2000 m³/h |
| Head | Up to 160 m |
| Pressure | ≤ 2.5 MPa |
| Temperature | -40°C to 260°C |
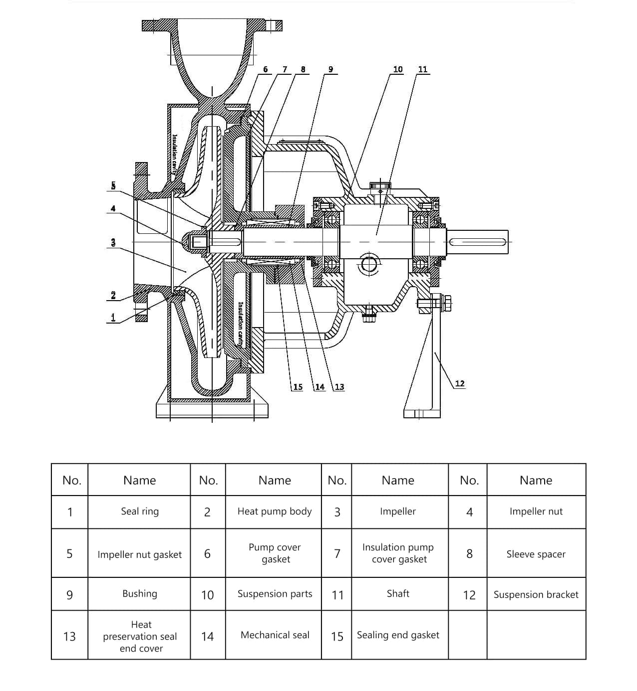
Schematic Diagram

TIPA6W9MQLHeat PreservationTemperature ControlCrystallization PreventionMolten SulfurInsulated Pump